產品來源:滕州市高地機床有限公司 更新時間:2021/1/16 10:59:24 點擊次數:5432
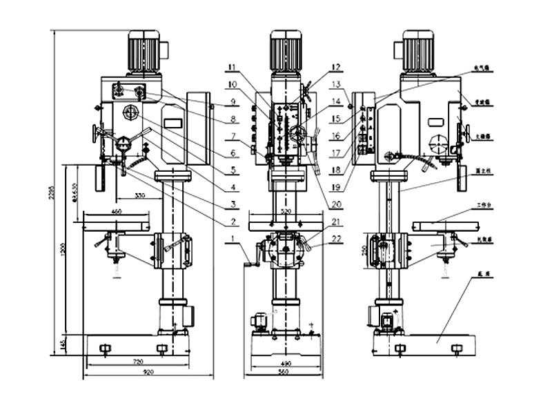
主要參數:
|
型號 |
Z5040 |
|
鉆孔直徑(mm) |
40 |
|
攻絲直徑(mm) |
M16 |
|
立柱直徑(mm) |
120 |
|
主軸行程(mm) |
120 |
|
主軸中心至立柱母線距離(mm) |
273 |
|
主軸端至工作臺面距離(mm) |
745 |
|
主軸端至底座工作臺面距離(mm) |
1200 |
|
主軸錐度 |
MT4 |
|
主軸轉速范圍(50Hz)(R·P·M) |
65-1400 |
|
主軸轉速級數 |
6 |
|
工作臺面尺寸(mm) |
500 x 450 |
|
工作臺行程 (mm) |
515 |
|
底座尺寸(mm) |
700×480 |
|
總高Overall height(mm) |
1760 |
|
電動機功(kw) |
1.1 |
|
凈重/毛重(kg) |
335/375 |
|
包裝尺寸(mm) |
820×540×1810 |

我們使用Z5040立式鉆床的時候,經常會出現一些小問題,比如各種零件損壞,或者各種機器設備出現故障,有的時候Z5040立式鉆床的刀具會出現返回不到零點這一現象,令我們用戶煩惱不堪,那么造成這一問題的原因是什么呢?具體情況是怎樣造成的呢,出現這一問題之后,應該如如何去做呢?下面我們就來了解一下。
程序運行結束,立式鉆床刀具返回不到零點,這一現象一般是控制系統故障引起的。Z5040立式鉆床刀具在進給或在加工時要求低速運行,這時立式鉆床步進電機運轉速度較低,采用低壓電源供電,而程序回零點時,要求快速退回,這時要求立式鉆床步進電機高速運行,采用高驅動電源,使輸出轉矩增大,保證正常回零。控制高壓驅動電源輸出的有一開關三極管,當開關三極管損壞后,高速回零點時,高壓電源打不開,立式鉆床步進電機輸出轉矩不夠,造成回零丟步,致使立式鉆床刀具返回不到原點。這一故障更換開關三極管即可消除。
立式鉆床保險離合器失效了怎么辦,原因是什么?
1 、超負荷鉆削 應按照使用說明書的要求進行正常的鉆削工作。
2 、調節彈簧作用力不足 可通過調整螺釘調整到超過正常負荷的10%,即達到10000N,離合器斷開及停止進給。
3 、離合器的鋼珠損壞,應更換鋼珠或整個接合子。
Z5040立式鉆床日常保養規定有哪些?
一、班前
1、擦凈外露導軌面及工作臺面的灰塵。
2、按規定潤滑各部位,油質、油量符合要求。
3、檢查各手柄靈活可靠性。
4、空車試運轉
二、班后
1、將鐵屑全部清掃干凈。
2、擦凈機床各部位。
3、部件歸位。
4、認真填寫交班記錄及其他記錄。
Z5040立式鉆床半年保養保養規定
一、外表
1、清洗機床外表及死角,拆洗各罩蓋要求內外清潔,無銹蝕,無黃斑、漆見本色 鐵見光。
2、清洗導軌面及清除共作臺面上的磕碰毛刺。
3、檢察補齊螺釘、手柄、手球。
4、清洗工作臺,絲杠、齒條、傘齒輪,要求無油垢。
二、主軸進刀箱
1、油質要保持良好,油量符合要求。
2、清除主軸椎孔毛刺。
3、檢查調整電機皮帶,要求松緊適宜。
4、檢查各手柄靈活可靠。
三、潤滑清洗油氈,要求油杯齊全,油路暢通,油窗明亮。
四、冷卻
1、清洗冷卻泵、過濾器及冷卻液槽。
2、檢查冷卻液管路,要求無漏液現象。
五、電氣
1、清掃電機及電機箱內外塵土。
2、檢查擦拭電氣元件及觸點,要求完好可靠,無灰塵,線路安全可靠。
上一個產品:Z5132立式鉆床
下一個產品:Z5050立式鉆床