當前位置:網站首頁 - 產品中心 - 立式鉆床 - Z5150B立式鉆床
產品來源:滕州市高地機床有限公司 更新時間:2021/1/16 11:00:05 點擊次數:21978
主要參數:
|
型號 |
Z5150B |
Z5150B(加強型) |
|
鉆孔直徑mm |
50 |
50 |
|
主軸軸孔錐度 |
MT5 |
MT5 |
|
主軸行程mm |
250 |
250 |
|
主軸箱行程(手動)mm |
200 |
200 |
|
主軸轉速級數 |
12 |
9 |
|
進給量級數 |
9 |
9 |
|
主軸轉速范圍r.p.m |
31.5~1400 |
45~850 |
|
進給量范圍mm/r |
0.056~1.80 |
0.056~1.80 |
|
工作臺面尺寸mm |
560 x 480 |
560 x 480 |
|
工作臺縱橫行程mm |
--- |
--- |
|
工作臺升降行程mm |
300 |
300 |
|
主軸端面至工作臺面距離mm |
750 |
680 |
|
主電機功率kw |
3 |
4 |
|
外形尺寸mm |
1090x905x2465 |
1090x905x2465 |
|
機床重量(凈重)kg |
1250 |
1250 |



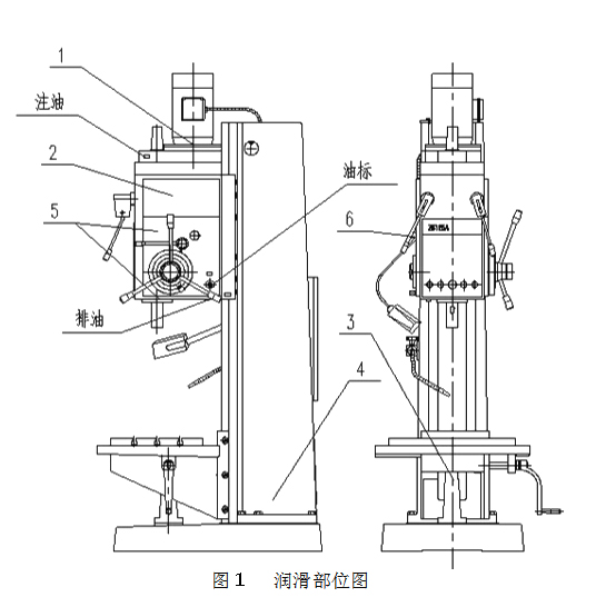
機床的潤滑部位,潤滑油種類及潤滑周期見圖1及表2所示。
機床所采用的潤滑油,必須是純凈無酸性的,不許含有水分和其它雜質。主軸箱的潤滑由柱塞泵將油吸上,然后經油管噴射到各潤滑部位。再由高速旋轉的各齒輪將潤滑油飛濺到各工作面上。
主軸箱上蓋上部設有注油孔,旋下螺塞即可注油,注油量以在停車狀態時油面達到油標高度的一半為準。油窗設在電機座左側上,便于觀察潤滑系統的工作情況,主軸箱下部設有排油孔,換油時,將主軸箱下部的螺塞旋出,潤滑油即可排出。
機床使用10~15天后,換第一次油,再經20~25天后,換第二次油,以后每隔三個月換一次油。換油時,應先將舊油放完,再用純凈的煤油清洗干凈后注入清潔的新油。
主軸套筒表面和立柱導軌應每日潤滑。
在主軸套的上下主軸軸承部位設有潤滑孔,可用黃油槍加注潤滑脂,注潤滑脂時關閉電源開關,小心移開主軸箱正面的面板,即可在箱內壁的孔中找到主軸上軸承的潤滑孔。潤滑主軸套,主軸箱左上方有一個油杯,將油杯的油管接到主軸箱的主軸套處,油杯中有毛線,每天向油杯中加滴20滴潤滑油,來潤滑主軸套。在工作過程中應當經常注意油窗處是否來油(能看到有飛濺的油點),即可以確保潤滑系統的正常工作。
Z5150B立式鉆床要定期維護,主要內容是:
1.設備潤滑五定:定點、定時、定質、定量、定人;
2.每周抽出兩小時徹底清掃機床,1-3個月徹底清掃;
3.檢查外露部位是否有油漬鐵銹,螺絲是否松動,潤滑是不是徹底,電動機是否過熱溫度不得超過60度。
運作Z5150B立式鉆床要遵守以下安全操作規程:
1.操作者必須嚴格遵守維護使用設備的四項要求,五項紀律。嚴禁超負荷使用設備
2.立鉆開車前,必須按照巡回檢查點仔細進行檢查,并按潤滑圖表進行潤滑
3.停車八小時以上再開動設備時,應先低速轉動三至五分鐘,確認運轉正常后,再開始工作
4.工作中必須正確安裝工具,鉆套要符合標準,錐面必須清潔無滑痕
5.工作必須正確牢固的裝卡在工作臺上,鉆透孔時必須在低面墊上墊塊。
6.工作中不采用機動進給時,必須將控制螺帽向里推
7.卸鉆卡具時應用標準斜鐵和用銅錘輕輕敲打,不準用其它東西亂打。
8.機床變速必須停車進行。設備開動后操作者不得離開或托人代管。
9.工作中各軸承的溫度不得超過60℃,主軸軸承及主軸套的溫度在轉速時不得超過70℃
10.工作中必須經常檢查設備運轉情況及潤滑系統情況,如運轉和潤滑不良時,應停止使用設備
11.工作中嚴禁戴手套。
12.非電工不準打開電器箱門。
13.工作后須將手柄置于非工作位置,工作臺降到低位置,并切斷電源。
方柱立式鉆床和圓柱立式鉆床的區別:
方柱立式鉆床與圓柱立式鉆床的區別是方柱立式鉆床的立柱是方的。圓柱立式鉆床與方柱立式鉆床的主要區別就是立柱的區別。圓柱立式鉆床和方柱立式鉆床在結構上主要的區別就是立柱。在實際結構上方柱立式鉆床和圓柱立式鉆床在主軸箱上還有工作臺上還有很大的區別。
圓柱立式鉆床和方柱立式鉆床在加工性能上還有著明顯的不同,方柱立式鉆床具有圓柱立式鉆床所沒有的穩定性,因此在結構上來說方柱立式鉆床的加工性能會更出色些,圓柱立式鉆床的特點就是輕便。在用戶選擇上是選擇圓柱立式鉆床還是選擇方柱立式鉆床需要根據用戶的使用要求來制定。當用戶需要進行的鉆削工作是強力切削時,就需要方柱立式鉆床來進行鉆削作業。當用戶需要的鉆削強度不是多大時,選擇圓柱立式鉆床就合適些。但是從鉆孔的角度上來說搖臂鉆床可以很好的替代圓柱立式鉆床,因此圓柱立式鉆床在使用范圍上還是性能上都沒有搖臂鉆床的效果好。在選擇立式鉆床上絕大數的用戶都是選擇方柱立式鉆床。
上一個產品:Z5140B立式鉆床
下一個產品:Z5140B-1立式鉆床